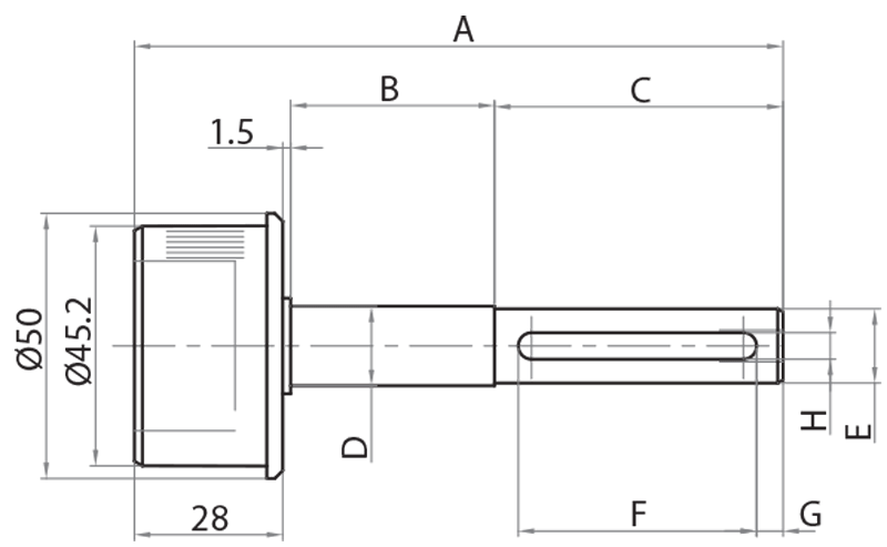
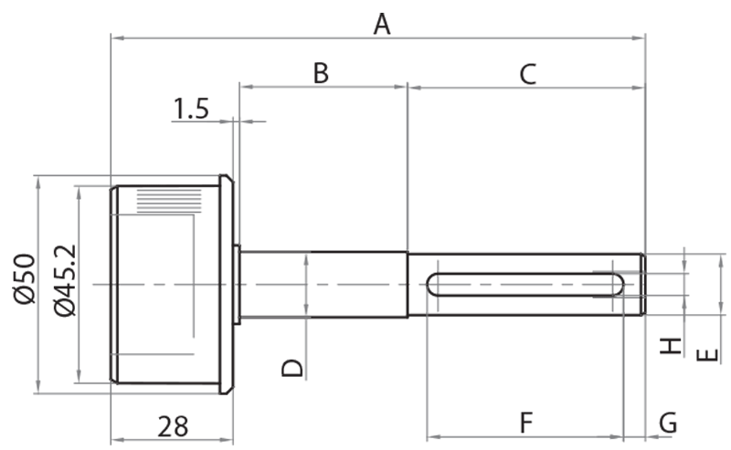
| Art. No. | Material | Gear motor type | Function | Weight (Kg) | A | B | C | D | E | F | G | H |
|---|---|---|---|---|---|---|---|---|---|---|---|---|
| 904517 | zinc plated steel | MVF30F Bonfiglioli | for Ø50 mm roller realization with direct motorization system | 0,336 | 142,5 | 58,5 | 54,5 | 15 | 14 | 45 | 5 | 5 |
| 904518 | zinc plated steel | MVF44FA Bonfiglioli | for Ø50 mm roller realization with direct motorization system | 0,517 | 166,5 | 60 | 77 | 20 | 18 | 50 | 8 | 6 |
| 904518-F | zinc plated steel | MVF44F Bonfiglioli | for Ø50 mm roller realization with direct motorization system | 0,444 | 135 | 63,5 | 42 | 20 | 18 | 50 | 8 | 6 |
| 904517 | Direct drive roller holder for MVF30F Bonfiglioli | 904517 | 0.00€ | |
| 904518 | Direct drive roller holder for MVF44FA Bonfiglioli | 904518 | 0.00€ | |
| 904518-F | Direct drive roller holder for MVF44F Bonfiglioli | 904518-F | 0.00€ |


