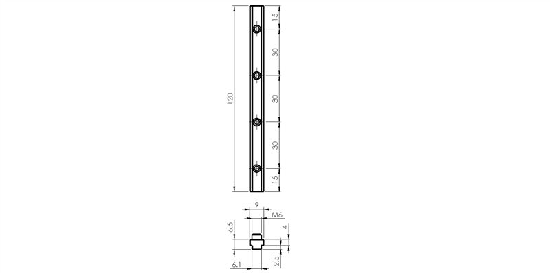
| Art. No. | Material | Assembly set | Function | Joint length (mm) | Weight (Kg) |
|---|---|---|---|---|---|
| 321307 | zinc-coated steel | complete with 4 screws | groove insertable for profiles butt and other fastenings | 120 | 0,053 |
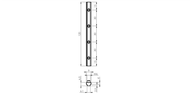
| Art. No. | Material | Assembly set | Function | Joint length (mm) | Weight (Kg) |
|---|---|---|---|---|---|
| 321307 | zinc-coated steel | complete with 4 screws | groove insertable for profiles butt and other fastenings | 120 | 0,053 |


