Material: anodized aluminium profile; ballscrew and nut made of steel
Function: for a rigid and precise accessories positioning on assembly lines
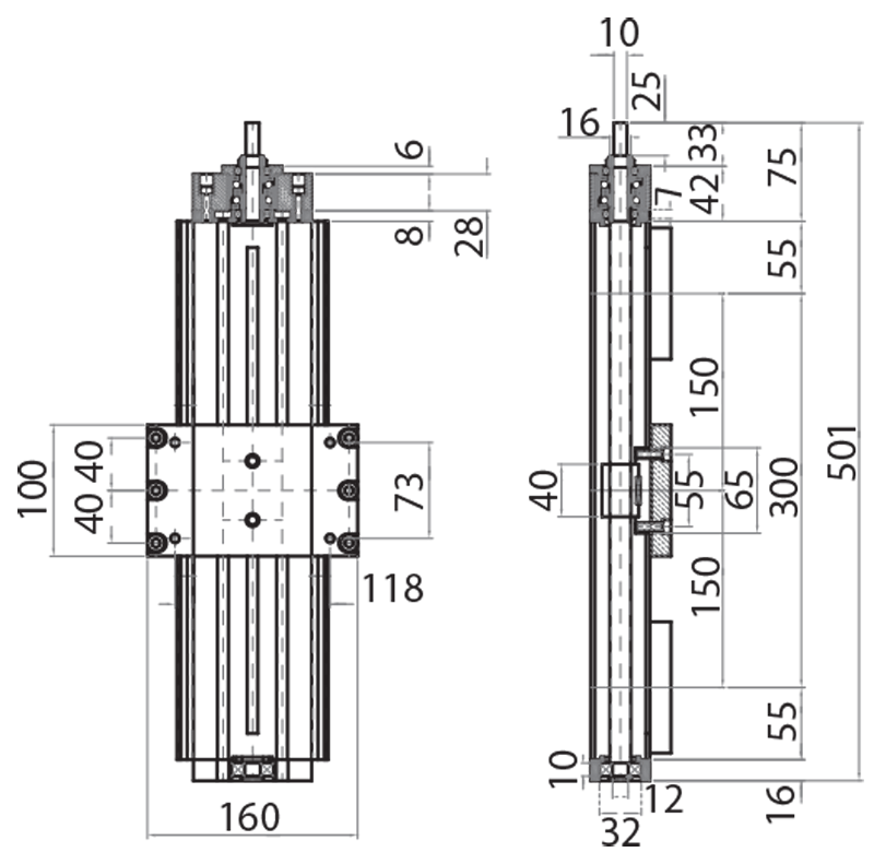
Screw pitch: 6 mm
Standard stroke: 300 mm
Tailored stroke: when ordering, indicate M083C stroke (800 mm max. stroke)
Assembly set: complete with ballscrew and ballnut; with carriages and rails
Optional features: protection boot; motorization with brushless motor M.P.P. and drive; motorization with brushless motor; handwheel with position indicator


