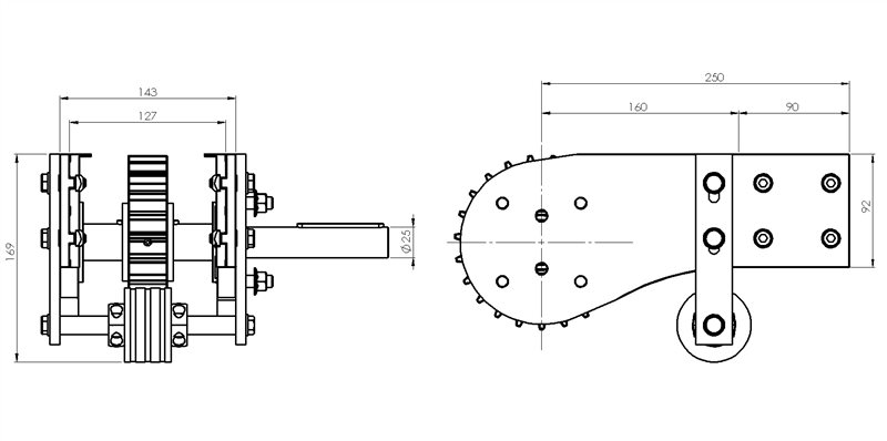
| Art. No. | Channel dimension (mm) | Chain width (mm) | Pitch Ø (mm) | External Ø (mm) | No. of teeth |
|---|---|---|---|---|---|
| ATD12127S | 127 | 114,3 | 147,2 | 149,9 | 23 |
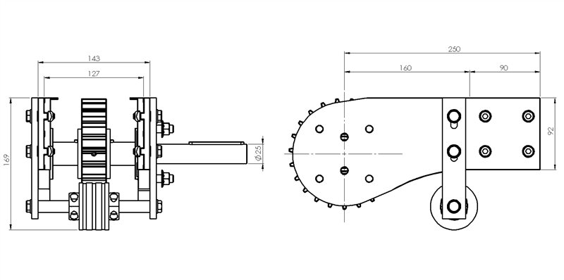
| Art. No. | Channel dimension (mm) | Chain width (mm) | Pitch Ø (mm) | External Ø (mm) | No. of teeth |
|---|---|---|---|---|---|
| ATD12127S | 127 | 114,3 | 147,2 | 149,9 | 23 |


